您好,欢迎光临山东德衡(枣庄)律师事务所网站!
设为首页 ┆ 加入收藏 ┆ 联系我们
0632-8171019
  • 首页
  • 走进德衡
  • 律师团队
  • 德衡动态
  • 理论研究
  • 经典案例
  • 党建之窗
  • 法规汇编
  • 媒体访谈
  • 联系我们
  • 德衡简介
  • 资质荣誉
  • 环境展示
  • 会议
  • 培训
  • 活动
  • 民商理论
  • 刑事理论
  • 综合研究
  • 裁判文书
  • 指导案例
  • 原创案例
  • 党建规范化建设展示
  • 党建活动
  • 德学社
  • 知识产权
  • 建筑房产
  • 民事侵权
  • 诉讼程序
  • 婚姻家庭
  • 企业管理
  • 金融证券
  • 契约合同
  • 土地矿产
  • 刑事法规
  • 律师风采
  • 专业团队
  • 德学社
  • 山东德衡(枣庄)律师事务所
  • 山东德衡(枣庄)律师事务所
  • 山东德衡(枣庄)律师事务所
  • 山东德衡(枣庄)律师事务所
经典案例 case
  • ·  冯克法律师代理某华润公司诉华润...
  • ·  金蝉脱壳可逃债,面纱被揭何遁形...
  • ·  挂靠施工合同无效,相关主体责任...
  • ·  为央视一套“今日说法”“酒瓶里...
  • ·  李某贪污、受贿、非法经营同类营...
  • ·  工商局未尽合理审查义务,法院判...
  • ·  王某贩卖运输毒品案件——以证据...
  • ·  剥茧抽丝,强奸还是猥亵?...
  • ·  竟业限制约定需谨慎...
快速链接 link
综合研究
当前位置:首页 > 综合研究

期刊《社会科学》发表牛爱芹律师论文《论专利无效案件中“使用公开”的 证明标准》

发布:山东德衡(枣庄)律师事务所浏览:9339次

摘要:在专利无效案件中,为证明涉案专利不具备新颖性,无效请求人常常会证明专利技术已经使用公开成为现有技术。本文结合案例来论述无效申请人在证明使用公开时的证明标准,具体提交怎样的证据方能证明技术方案为使用公开。

关键字:专利无效,现有技术,新颖性,使用公开

正文:随着中国经济的蓬勃发展,自主科技研发与维权意识的增强,我国每年的专利申请量出现爆发式增长。根据世界知识产权组织(WIPO)引用数据称,中国在2016年的国际专利申请数量上排名世界第三,可能在近两年就会在这个指标上超过美国。专利申请量的猛增,推动专利侵权案件逐年增多。加上苹果与三星、华为与三星等国际性大企业的专利大战及巨额专利侵权赔偿,越来越多的企业和个人愿意通过法律途径解决专利纠纷问题。在专利侵权诉讼中,专利权的无效宣告程序往往被被告用来作为与专利权人进行抗衡的“武器”,通过专利无效程序这种救济途径,一是审理专利侵权诉讼的法院会根据专利是否进入无效程序决定侵权诉讼是否中止,故而被告可拖延开庭期限,为自己争取更长时间应对专利侵权诉讼,消除网站宣传信息等对自己不利证据,在面临侵权败诉时的尽量减少赔偿数额,增加原告维权成本,消耗原告维权热情,降低原告心理预期,为下一步调解做为铺垫;二是若能无效成功,则从根本上清除了被告将来生产、制造、销售所面临的障碍。

一、“使用公开”在无效案件中的作用

在《专利法实施细则》六十条规定的诸多无效宣告请求理由中,请求人较为常用的是专利技术不符合《专利法》二十二条中的新颖性和创造性。而在新颖性的论证中,其中一个主要的切入点就是证明涉案专利已被国内外“使用公开”成为现有技术,不具有新颖性,不符合《专利法》二十二条第2款新颖性的要求,故而具备专利无效的法定要件。  

二、“使用公开”的举证责任

笔者本文仅就“使用公开”的证据提交展开论述。根据《专利法》以及《专利法实施细则》的相关规定,自国务院专利行政部门公告授予专利权之日起,任何单位或者个人认为该专利权的授予不符合本法有关规定的,可以请求专利复审委员会宣告该专利权无效。因此,对于专利无效程序应当和专利权的保护一样,适用民事诉讼的有关规定。根据民法中谁主张谁举证的举证原则,无效请求人主张 “使用公开”破坏专利技术新颖性时,应对专利技术的使用公开负有举证责任。

三、“使用公开”的证明标准

那么无效请求人怎样证明技术方案的“使用公开”就是其举证责任问题。《专利审查指南》对于使用公开的认定是:由于使用而导致技术方案的公开,或者导致技术方案处于公众可以得知的状态,这种公开方式称为使用公开。使用公开的方式包括能够使公众得知其技术内容的制造、使用、销售、进口、交换、馈赠、演示、展出等方式。只要通过上述方式使有关技术内容处于公众想得知就能够得知的状态,就构成使用公开,而不取决于是否有公众得知。但是,未给出任何有关技术内容的说明,以致所属技术领域的技术人员无法得知其结构和功能或材料成分的产品展示,不属于使用公开。如果使用公开的是一种产品,即使所使用的产品或者装置需要经过破坏才能够得知其结构和功能,也仍然属于使用公开。此外,使用公开还包括放置在展台上、橱窗内公众可以阅读的信息资料及直观资料,例如招贴画、图纸、照片、样本、样品等。使用公开是以公众能够得知该产品或者方法之日为公开日。

因此,无效请求人的证明标准就是证明技术方案在涉案专利申请日之前即已公开,专利技术方案处于公众想得知就能够得知的状态,“公众想得即可得”为其判断标准。

    四、专利技术方案的“公众想得即可得”证明

下面通过笔者经办一专利无效案例对是否构成“使用公开”进行阐述:

涉案专利(专利名称:合金包管支架,专利号:2014203711320,申请日:2014年7月7日,授权公告号20141217,其作用是用于下水管道的快捷包装,易于拆卸及维护)所保护的权利要求为:“1、一种合金包管支架,包括双阳角架(7),其特征是 :双阳角架(7)的两侧分别设计有左固定角架(16)和右固定角架(9),左固定角架(16)与双阳角架(7)通过调节板(2)固定连接,右固定角架(9)与双阳角架(7)之间通过调节板(2)固定连接,左固定角架(16)与双阳角架(7)之间卡接有挡板,右固定角架(9)与双阳角架(7)之间卡接有挡板”。2-10权利要求略。

本专利技术方案归纳为:①技术包括双阳角架、左固定角架、右固定角架、②左固定角架、右固定角架分别与双阳角架用调节板连接并固定、③左固定角架与双阳角架之间卡接有挡板,右固定角架与双阳角架之间卡接有挡板。

技术说明:本专利所涉及的双阳角架、左固定角架、右固定角架、调节板均由模具加工而成,然后组装成成品——合金包管支架。

无效请求人针对使用公开所出示证据:

证据1:一模具加工厂(以下简称C厂)出具的标注为“合金材料冲压模具”收款收据一份,日期为2013年11月20日,(注:未体现模具型号);C方于2016年7月28日出具的证明一份,载明无效请求人于2013年10月份在C处开出4套冲压模具(但没载明模具型号及具体信息);图纸三份,载明无效请求人于2013年10月29日在C处定制铝型冲孔模具两套(但图纸没有体现技术信息,亦没有加工说明)。

证据2:另一模具加工生产方(以下简称D方)出具的证明一份,载明无效请求人于2013年10月20日在D处定制DRJJ-1169及DRJJ-1168模具,并生产DRJJ-1169及DRJJ-1168产品;DRJJ-1169及DRJJ-1168图纸。

证据3:区域总代理合同,证明无效请求人于2013年11月20日起即生产并销售与涉案专利相同的合金包管支架。

无效请求人主张:证据1中的收款收据及图纸为请求人加工“调节板”的证明,请求人于涉案专利申请日之前就开始做生产准备,于2013年10月份开始制作生产用模具。证据2是请求人委托加工涉案专利产品零部件“双阳角架”“ 左固定角架、右固定角架”及采购原料的证据,证明请求人于2013人10月份涉案专利申请日之前即开始试生产该产品。证据3证明请求人于涉案专利申请日之前就开始销售该下水管道包装产品,并销往全国各地。

专利权利人答辩:

1、证据1所示证据与本专利所要求保护的技术方案没有关联性,不属于使用公开。

无效请求人与C厂定制生产模具,没有提供委托加工合同,证据1所示的所有材料对于所加工模具均缺少基本描述,无法确定所加工物品的形状、功能、生产参数等必要的技术特征要求,加工模具图纸没有体现本专利的技术特征,图中显示的冲孔模具与本专利没有必然的联系,通过冲压模具并不能获知本专利所要求保护的技术方案与技术特征,本领域技术人员不能通过证据1所示的图纸想到本专利所体现的技术特征,也不能生产出本专利所示的产品。证据一所示内容不能成为本专利的使用公开,与本专利没有关联性,不能影响本专利权利要求1-10的新颖性。

此外,冲压模具仅是加工工具,在不同的技术参数、不同的生产步骤下生产的产品也不相同,不能得出申请人所述的“模具图纸显示出该模具加工的产品是长条形的带有若干个均布的孔的板条,与涉案专利中调节板的产品结构相同,是涉案权利要求6限定的产品”这种结论。

此外,因无效请求人与承揽方C厂没有签定委托加工合同,根据商业习惯及诚实信用原则可以推定,承揽方应当承担保密义务,有默示的保密责任,这种加工形式不能导致其加工行为及加工物品处于公众想得知即可得知的状态,其加工冲压模具的行为不能导致模具本身的使用公开。更不能导致模具冲压出来的产品或技术方案的公开,因此即使加工行为的技术与本专利所体现技术特征一致,也不能构成本专利的公开,不影响本专利权利要求1-10的新颖性。

2、证据2中DRJJ-1169与DRJJ-1168两份图纸不能反映本专利的技术特征。

通过权利要求1及说明书、说明书附图可以确定其中所要保护的技术特征“双阳角架”、“左固定角架”、“右固定角架”均不是平面结构,“左固定角架”可以通过“调节板”与“双阳角架”实现连接,“右固定角架”可通过“调节板”与“双阳角架”实现连接,通过以上技术特征,使得本专利为一立体支架式结构,可以实现在“左固定角架”、“右固定角架”与“双阳角架”之间卡接挡板。权利要求1所术技术特征可以实现对下水管道的维修及装饰。申请人主张DRJJ-1169与DRJJ-1168两份图纸为主视图,但没有提供俯视图、左视图、右视图、仰视图、后视图的图纸,通过DRJJ-1169与DRJJ-1168两份图纸所展示图形仅仅得到一个平面图形,仅仅与本专利的“双阳角架”及“左固定角架”、“右固定角架”的横向切面类似,无法体现“双阳角架”及“左固定角架”、“右固定角架”整体的技术特征,无法与之等同,无法否定“双阳角架”及“左固定角架”、“右固定角架”等技术特征的新颖性。此外,证据二亦没有针对性的文字描述及说明,亦没有提供其他图纸与其所示图纸相结合说明,无法体现加工产品的全貌,不能通过证据二中的图纸确定技术的技术领域、功能、结构特征、各部位的连接方式、实现的技术效果、具体技术参数等技术特征,不能反映本专利中“双阳角架”及“左固定角架”、“右固定角架”的结构特点,亦不能体现“左固定角架”、“右固定角架”与“双阳角架”之间能够卡接有挡板这一技术特征,通过DRJJ-1169与DRJJ-1168两份图纸,不能使本技术领域普通技术人员清晰、明确地确定其本专利所体现的技术特征,因此,证据二所展现内容不能构成本专利技术特征的公开,不能破坏本专利权利要求1的新颖性。

3、证据三所示区域总代理合同亦没有提及产品型号、产品功能、使用及安装方法等产品的具体内容,不能体现本专利的技术特征,不能构成本专利技术的使用、销售公开,与本专利没有关联性。

五、结论

若要证明“使用公开”则要证明两个内容,一是所示证据能够体现涉案专利的技术方案,二是能够证明技术方案处于公众想得即可得的法律状态,二者缺一不可。如本文引用案例,由于无效请求人所示若干证据未给出任何有关技术内容的说明,以致所属技术领域的技术人员无法得知待证物品或技术的具体技术信息,亦不能与涉案专利的技术方案进行比较,无法证实涉案专利的技术方案处于公众想得即可得的状态,故无法证明专利技术的“使用公开”,无法破坏涉案专利的新颖性。


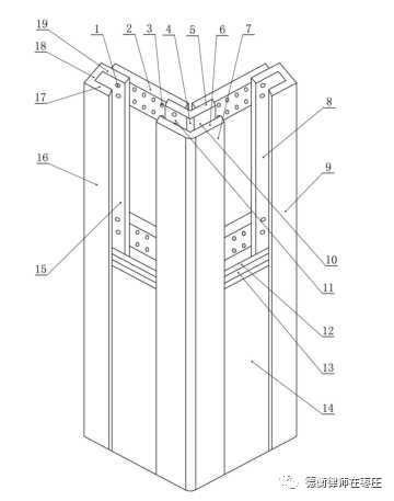
附:本文引用涉案专利附图及标注说明。

 

图中:1、固定孔,2、调节板,3、调节孔,4、连接板,5、内直角架,6、外直角架,7、双阳角架,8、左向槽,9、右固定角架,10、双阳角架右槽,11、双阳角架左槽,12、隔音板,13、吸音板,14、瓷砖,15、右向槽,16、左固定角架 ;17、前板,18、连板,19、后板。

参考文献

[1]陶凤波主编:《专利复审与无效代理实务》,知识产权出版社2013年第1版。

[2]中华人民共和国国家知识产权局:《专利审查指南》,知识产权出版社,2010年第1版。

[3]最高人民法院知识产权审判厅 编:《最高人民法院知识产权审判案例指导》第七辑,中国法制出版社2015年第1版。 

【作者简介】

牛爱芹,山东大学法学学士、山东科技大学工科学士,山东德衡(枣庄)律师事务所律师、知识产权法律事务团队负责人,具有专利代理人资格,专业知识产权双证律师。

从业以来专注于专利及商标侵权案件的代理及专利的撰写、申请、维权,担任多家企业知识产权顾问,在企业专利挖掘及申请、专利战略制定、专利运营和管理等方面有深入研究,实务操作经验丰富。

联系电话:18963219073

电子邮箱:niuaiqin@deheng.com

执业证号:13704201511670278

工作地址:山东省枣庄市新城武夷山路枣庄国际大厦8层


  • 上一篇:【德衡原创】论企业商业秘密保护与管理
  • 下一篇:23项公司章程可自由规定事项操作策略
友情链接:
  • 中国人大网
  • 最高法院
  • 最高检察院
  • 中国司法部
  • 中国公安部
  • 知识产权局
  • 中国证监会
  • 中国银监会
  • 中国保监会
  • 国资委
  • 发改委
  • 工商总局
  • 商标局
  • 中国贸仲、中国海仲
  • 中国律师网
  • ALB LEGAL NEWS
  • 中小企业协会
  • 知识产权局
  • 中国民商网
  • 网站首页
  • 走进德衡
  • 律师团队
  • 德衡动态
  • 理论研究
  • 经典案例
  • 建党之窗
  • 法规汇编
  • 联系我们
Copyright © 2016 山东德衡(枣庄)律师事务所 all rights reserved 
地址:山东省枣庄市薛城区黄河路3666号双子星广场A2东塔楼24层 邮编:277800 E-Mail:zaozhuang@deheng.com HTML地图 XML地图
鲁ICP备18033855号-1

鲁公网安备 37040302000172号

微信扫一扫
分享手机网站